
卸卷机的作用是将盘卷从运输机上卸下,小卷则多个卷 收集在一起,为叉车或吊车运走盘卷作准备。
按盘卷盘重不同盘卷卸卷装置分为两类:
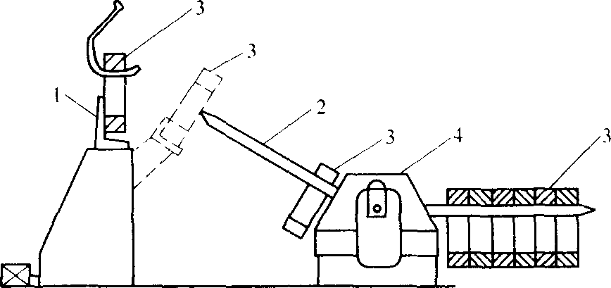
(1)小型的线材卸卷大多是通过集卷机将多个小卷集在一起,然后用叉车将盘卷运到堆放场地堆放。其盘卷卸卷机和集卷机如图1-1所示:
图1-1 盘卷机与集卷机示意图 1,卸卷机 2,收集杆 3,线卷 4,集卷机
(2)单卷卸卷。高速轧机线材生产中,由于盘重大,所以是是单卷卸卷。按卸卷方式不同蛋卷卸卷装置又分为两种,一是用卸卷小车的卸卷装置,如图1-2所示,而是用C形钩卸盘的卸卷装置如图1-3所示

图1-2 用卸卷小车的盘卷卸卷装置示意图 1,卸卷小车 2,升降横杆 3,固定收集架 4,链条传动机构
卸卷机相对盘卷运输机的位置又分为平行和垂直两种布置方式。
图1-3用C型钩卸盘卷的卸卷装置示意图 1,电机 2,涡轮减速机 3,曲柄机构 4,托卷板 5,形钩 6,衔接钢板 7,步进梁 8,固定挡板 9,盘卷
(1)平行布置方式是指卸卷机与该处运输机的轴线相互平衡如图a所示。
(2)垂直布置方式是指卸卷机与该处盘卷运输机的轴线相互垂直的布置方式。如图b所示。

a b
图a,b 卸卷机的两张布置方式
1盘卷的驱动(游动或单独电机驱动的钩式运输机);2卸卷小车及其卸下的运盘卷;3盘卷集放架及集放的盘卷
两种布置方式的主要区别是盘卷放架的位置和集放架存放盘卷的货位数不同。货位多可对吊车工作起到缓冲作用。
上述各卸卷机,几乎都有带液压升降托盘(从钩上托起盘卷用)装置的小车,而小车又都是由电动机驱动并在辊道上作网返运动用。
盘卷卸卷后,由叉车或吊车送到成品库堆放。

